随着加拿大央行连续加息的影响,越来越多房主扛不住了!多伦多一位房主刚刚买房仅一年多,被迫割肉$10万转手!

根据挂牌记录,这栋位于多伦多Mount Dennis社区6 Nickle St.的2室2卫平房式独立屋(detached bungalow)最后一次交易是在2022年4月,当时的成交价格为$90万元。
不到半年时间,该房屋又被挂牌出售。最后以$80万的价格出手,亏损了$10万。

房产经纪人奥斯奈尔·利奇摩尔(Othneil Litchmore)对可能导致这一结果的因素进行了分析。根据他的说法,$80万的售价"与该地区类似大小的住宅价格差不多"。
他指出,前房主于去年4月以$90万的价格买下这栋房子时,处于市场的高峰期(2022年2月出现天价房价)。因此,这是一个虚高的价格。截至发稿前,该房屋的挂牌经纪没有及时回复置评请求。
房屋信息
根据挂牌信息,该住宅占地面积在700到1100平方英尺之间,单车库,分门出入,地下室已经装修好,有一房一卫。与2022年交易时的挂牌信息相比,这栋房子看起来基本没有什么变化,这让人相信房主并不是想通过翻新房子来牟利。

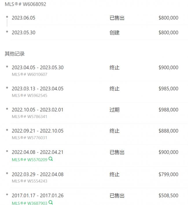
挂牌历史
根据挂牌历史,前房主于2022年4月以$90万的价格买下了这栋房子。5个月后以略低于原价的$88.8万重新挂牌。此时,利率正在上升,房子挂牌两周也没有卖出去,挂牌终止。
之后,该房屋又在2022年10月至2023年5月期间多次以不同的价格重新挂牌,但每次挂牌价格都在$90万至$98.8万之间,结果不是挂牌终止就是过期。
最后,该房屋于2023年5月30日以$80万的价格挂牌,这是自上次交易以来的最低要价。几天后,它就售出了。

根据土地和商业登记公司Teranet最近的一份报告,自去年开始加息以来,房主在购房后一年内出售房产的情况“显著”增加。
该报告研究了自2022年3月开始连续八次加息的影响,称这一发现“可能表明那些在房地产市场高峰时期购房的人面临着住房拥有压力。”
利奇摩尔建议购房者在当今的市场上,应该慢慢做决定。他解释说,随着利率上升和持有成本高昂,抢offer越来越少,买家思考的时间也越来越多。
他建议:"准备好了再买房,不要急于做决定,不要觉得有压力。预计自己至少可以居住5-7年的房子,才考虑购买。"
此外,他还表示,买家应严格控制预算。
他指出:"如果你不得不超出预算,请确保这是你绝对喜欢的房子。这将激励你即使在困难时期也要坚持下去"。